信息显示,近日,北京小米移动软件有限公司“光机波导组件和 AR 眼镜”专利获授权。

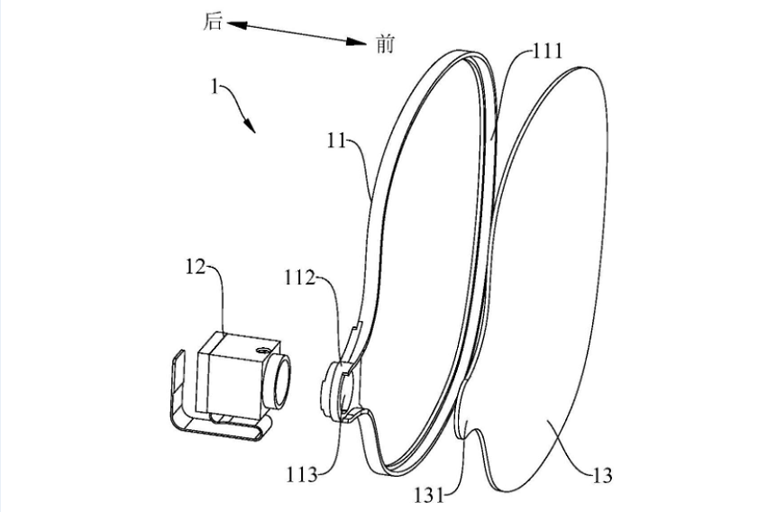
摘要显示,本实用新型公开了一种光机波导组件和 AR 眼镜,光机波导组件包括:支架;光机,波导件和屈光度调节组件,所述光机设在所述支架上,所述光机适于输出图像光束;所述波导件设在所述支架上,所述波导件适于传输所述图像光束;所述屈光度调节组件设在所述光机的光束输出端和 / 或所述波导件的光束输入端和 / 或所述波导件的光束输出端,所述屈光度调节组件适于调整所述图像光束的成像焦距。本实用新型的光机波导组件实现了对图像光束的成像焦距的调整,方便了视力障碍人群的使用,提升了用户体验。
特别提醒:本网信息来自于互联网,目的在于传递更多信息,并不代表本网赞同其观点。其原创性以及文中陈述文字和内容未经本站证实,对本文以及其中全部或者部分内容、文字的真实性、完整性、及时性本站不作任何保证或承诺,并请自行核实相关内容。本站不承担此类作品侵权行为的直接责任及连带责任。如若本网有任何内容侵犯您的权益,请及时联系我们,本站将会在24小时内处理完毕。
站长资讯网