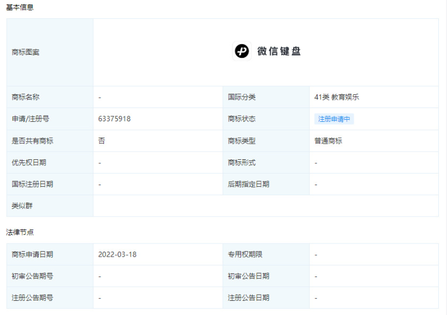
信息显示,近日,腾讯科技(深圳)有限公司申请多个“微信键盘”商标图案,国际分类涉教育娱乐、广告销售、科学仪器,目前商标状态均为注册申请中。
此前,腾讯曾申请注册多个“微信键盘”商标被驳回。


此前微信 iOS 版 8.0.18 正式版中对红包界面进行了 UI 微调,在输入金额时用上了内置的微信键盘。

在 2021 年 1 月份的 2021 微信公开课 Pro 版微信之夜上,腾讯高级副总裁、微信事业群总裁张小龙曾透露:微信将上线属于自己的专属输入法,其目的并不是为了抢夺输入法市场,而是为了更好的保护用户的隐私。
特别提醒:本网信息来自于互联网,目的在于传递更多信息,并不代表本网赞同其观点。其原创性以及文中陈述文字和内容未经本站证实,对本文以及其中全部或者部分内容、文字的真实性、完整性、及时性本站不作任何保证或承诺,并请自行核实相关内容。本站不承担此类作品侵权行为的直接责任及连带责任。如若本网有任何内容侵犯您的权益,请及时联系我们,本站将会在24小时内处理完毕。
站长资讯网