12 月 29 日消息,据 onMSFT 报道,微软继续在 2021 年和明年发展双屏智能手机,但该公司似乎希望在不久的将来以三屏手机来吸引用户。

一项于 2020 年 6 月 23 日提交的专利在上周被公开,并在近期被 Patently Apple 发现,展示了 Surface Duo 的概念,如果它有第二个铰链,容纳第三个屏幕,会是什么样。



在可折叠手机尚未在消费者心智中占据一席之地的时候,这项专利可能会让人觉得可笑,但微软的专利实际上可能有助于其可折叠手机的愿景比其他人更早成为现实。
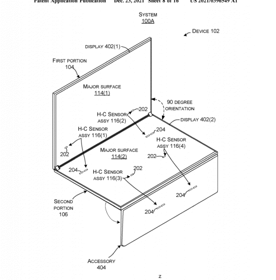
该专利本身详细介绍了铰链度、平行轴、拉长的磁铁、磁屏蔽、霍尔效应传感器等,并附有图片,从外观上看,微软希望增加一个 2/3 大小的显示屏,可以作为多功能屏幕使用。
有人提到该屏幕在不同的使用情况下充当键盘、触控板或游戏控制器,然而,它最有用的功能可能只是一个朝外的屏幕,类似于三星 Galaxy Fold 的新热点。
据悉,微软 Surface Duo 手机自然与三星 Galaxy Fold 手机竞争,后者确实提供了一个外部显示屏,以便更容易地即时访问内容,而 Duo 手机上缺乏一个外部显示屏,引发了一些查看通知时的争议。
这项新专利如果执行得当,可以帮助 Surface Duo 与三星 Galaxy Fold 等手机并驾齐驱,甚至可以说是一跃而起。
由于三个屏幕相互折叠,顶部的屏幕作为更传统的单一显示屏,那些偶尔或经常想要更大的平板电脑式屏幕的人将拥有目前市场上任何可折叠产品的最大灵活性。
微软已经证明,它可以制造坚固的铰链,虽然这项专利的铰链是单向的,与 Surface Duo 和 Surface Duo 2 的双向铰链不同,但可以肯定的是,它们将和 Surface Duo 的铰链一样固定就位。
微软的专利已经被 HBO 节目《西部世界》的道具团队视觉化了,除去长宽比,微软的版本会和它很像。

虽然令人兴奋,但仍有一些问题需要考虑,如电池、重量、冷却、内存管理、微软启动器或一般的安卓系统将如何呈现三屏体验,等等。
然而,从其解释的形式来看,新专利将帮助微软克服其认为的 Surface Duo 和 Surface Duo 2 的一些缺点。

微软对其选择双屏折叠加单屏的做法表示支持,以更好地模仿许多人在工作或家庭中的个人计算设置的双显示器体验。现在的问题是,有多少人会利用三屏设置,在移动领域创造出更好的体验。
特别提醒:本网信息来自于互联网,目的在于传递更多信息,并不代表本网赞同其观点。其原创性以及文中陈述文字和内容未经本站证实,对本文以及其中全部或者部分内容、文字的真实性、完整性、及时性本站不作任何保证或承诺,并请自行核实相关内容。本站不承担此类作品侵权行为的直接责任及连带责任。如若本网有任何内容侵犯您的权益,请及时联系我们,本站将会在24小时内处理完毕。
站长资讯网