11 月 5 日消息,京东方近日获得了一项“AR/VR 隐形眼镜”相关专利授权。
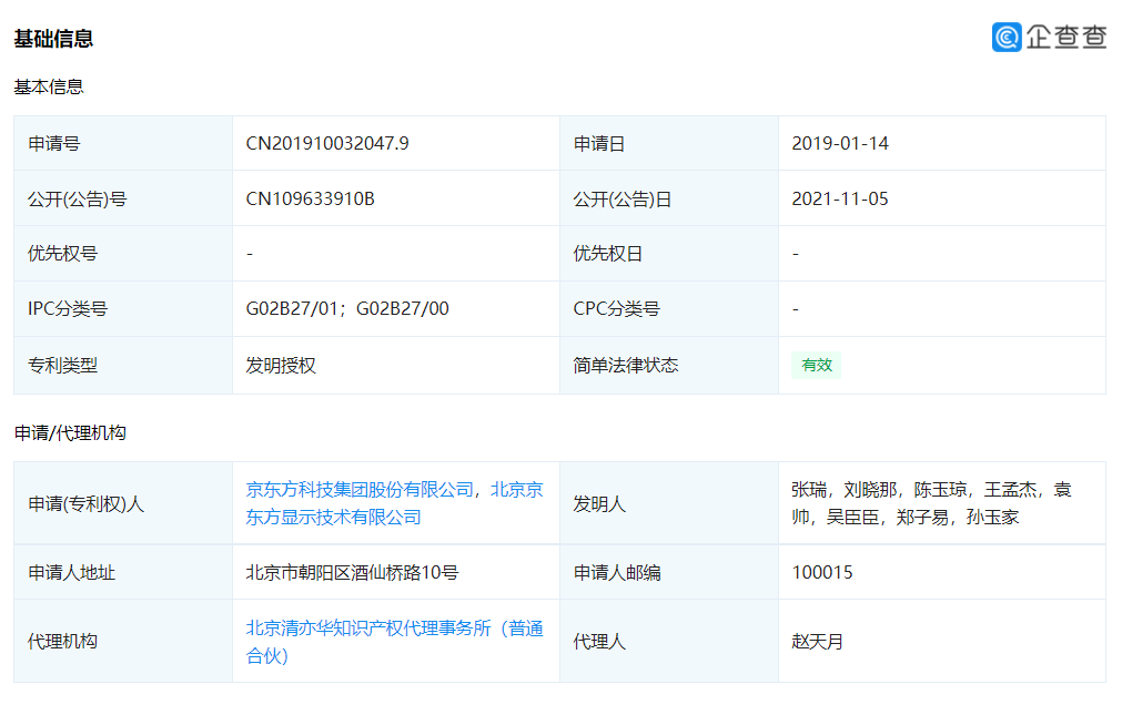
企查查 App 显示,11 月 5 日,京东方科技集团股份有限公司获得“AR/VR 隐形眼镜及其制作方法和电子设备”专利授权,公告号 CN109633910B,该专利于 2019 年 1 月申请,申请人还包括北京京东方显示技术有限公司。

专利摘要显示,本发明提供了 AR/VR 隐形眼镜及其制作方法和应用。隐形眼镜包括:远眼膜、近眼膜以及设置在远眼膜和近眼膜之间的中间层,中间层包括电容式传感器和与电容式传感器电连接的信号转换器;其中,电容式传感器用于感测眼球运动时电容式传感器检测到的预定位置处电容的变化量,并将预定位置处电容的变化量输出给信号转换器,信号转换器用于将预定位置处电容的变化量转换为无线电波信号,并将所述无线电波信号发送出去。
由此,本发明的 AR/VR 隐形眼镜不仅可以用于体验 AR 和 VR 两种场景,且没有镜框的笨重感,可消除 AR 眼镜或 VR 眼镜镜框带给眼睛的压迫感,进而可以大大提升体验者的体验效果。
特别提醒:本网信息来自于互联网,目的在于传递更多信息,并不代表本网赞同其观点。其原创性以及文中陈述文字和内容未经本站证实,对本文以及其中全部或者部分内容、文字的真实性、完整性、及时性本站不作任何保证或承诺,并请自行核实相关内容。本站不承担此类作品侵权行为的直接责任及连带责任。如若本网有任何内容侵犯您的权益,请及时联系我们,本站将会在24小时内处理完毕。
站长资讯网