据外媒报道,随着苹果正在研究一种“附件系统”,甚至Apple Music的框架也可能是这样连接在一起的,Apple Watch上巧妙的末端链接可能会被应用到更多的设备上。Apple Watch表带的设计是革命性的,最近公布的一项专利申请希望将其扩展到其他用途。
虽然是最新披露的,但这项专利申请的历史可以追溯到2015年,最初可以认为只是关于Apple Watch的。不过,苹果还提出了在眼镜上使用“附件系统”的想法,可能是Apple Glass的前兆。
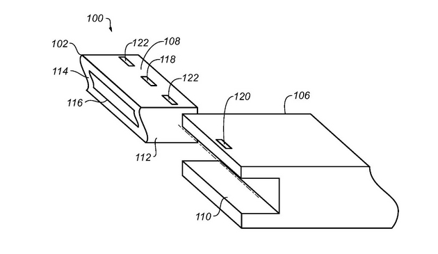
虽然这些可以辨认的图纸都来自Apple Watch,但苹果正在努力展示它想要安装许多设备。
苹果提出的是一个系统,它将“一个电子设备、一个机械设备、一个机电设备等等”连接到一个配件上,如盖子、挂绳、带子、皮带、链条基座等等。

苹果可能正在跳专利申请之舞,每位发明者都要提出尽可能广泛的权利要求以帮助经得起未来的诉讼。苹果可能会回顾性地为Apple Watch最聪明的设计功能之一申请专利。
然而这些图画中的一些也让人奇怪地想起PowerBook Duo在20世纪90年代是如何进入Duo Dock的。这让笔记本电脑变成了台式机,苹果新公布的专利申请反复提到“生态系统……(这些设备)彼此之间是可以互换的。”
据悉,这项专利申请归功于三位发明家。其中一位是Phillip M。 Hobson,他之前被认为是Apple Glass的研发人员。
特别提醒:本网信息来自于互联网,目的在于传递更多信息,并不代表本网赞同其观点。其原创性以及文中陈述文字和内容未经本站证实,对本文以及其中全部或者部分内容、文字的真实性、完整性、及时性本站不作任何保证或承诺,并请自行核实相关内容。本站不承担此类作品侵权行为的直接责任及连带责任。如若本网有任何内容侵犯您的权益,请及时联系我们,本站将会在24小时内处理完毕。
站长资讯网