我们口中的云VPS、云服务器又或是云主机,在中小型网站领域可谓是大放异彩,而无限流量云服务器由于不限月流量的使用备受青睐,灵活的硬件配置搭配无限流量,实在是酣畅淋漓的使用体验。

SugarHosts.com
再遇SugarHosts
依然是熟悉的糖果主机,欧洲著名的老牌主机商,相当能打的性价比配合着产品的多样性,恰逢十二周年半价回馈,新老用户都能低价入手,可谓是福利多多。
为什么是SugarHosts?
7*24小时中文在线客服,7*24小时中文技术部门提供帮助,支持多语言多货币多地域,全方位DDoS防护,免备案即开即用。
Linux无限流量云服务器

流量不设限,分秒级快照备份可以说是拿手好戏,目前低至24,5元/月,每天仅需八毛钱,就可以畅快使用linux云服务器。
方案推荐:

目前linux无限流量云服务器提供三个数据中心:洛杉矶、洛杉矶-中美极速专线、香港,大家可以根据需求选择合适的数据中心,由于云服务器的方案灵活性,选择UL1不仅方便后续升级,同时价格很有说服力。当然,如果对硬盘空间、内存等有需求,可以直接选择更高的套餐方案。
Windows无限流量云服务器

我们又能见到熟悉的Windows桌面操作系统运用于云服务器上,满足桌面控,满足特殊站点人群,完整支持多种Windows操作系统版本,最低五折,立刻拿下。
方案推荐:

低价入手强推Cloud UW2,一开始不必追求过高的性能,根据需求升级配置,不但能降低运营成本,还能拿捏云服务器的灵活性,简直完美。
数据中心线路测试
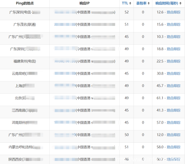
香港多地区ping值测试

多地区延迟平均34ms,低延迟不丢包,表现优秀。
香港下载速度测试

在电信200Mbps带宽下,平均下载速度23.06M/s,轻松跑满。
洛杉矶-中美极速专线多地区ping值测试

多地区平均延迟125ms,丢包率为0,非常稳定。
洛杉矶-中美极速专线下载速度测试

电信200Mpbs带宽下,平均下载速度为21.62M/s,下载速率占用100%。
不难看出,SugarHosts在网络线路方面下足了功夫,不仅快而且稳,在多地区多线路的情况下,表现依然十分亮眼,这很难让人拒绝。
更多福利爆料
我们都知道十二周年活动,新购订单最高可享五折优惠 ,
你不知道的是,现在云服务器每续费一年即刻赠送半年使用时间。
还有海量十二周年优惠码 以及客户抽取的续费优惠码 ,可以叠加使用!
最后,官网指路:SugarHosts,com
申请创业报道,分享创业好点子。点击此处,共同探讨创业新机遇!
站长资讯网