从目前的已知消息显示,苹果将会在今年9月份正式发布iPhone 13系列新机,但遗憾的是该机并没有将困扰用户多年的刘海移除,而是通过优化内部的堆叠,将刘海区域的面积缩小。
据悉,苹果多年来一直未曾向刘海下手的最主要原因就是,至今未能找到可有效替代Face ID且足够安全的解锁方式,目前来看Face ID的3D结构光依然是安全性最高的解锁方式之一。
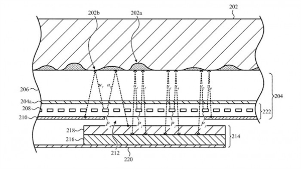
但这个局面可能很快就要被打破了,根据相关报道显示,苹果有一项新的技术专利被曝光,其中正是一种在屏幕下方安放传感器的方法。
该专利指出,iPhone可以通过在将光学成像阵列放置于屏幕下方之后,其可定向接收透过屏幕传来的光线(与屏幕发光的方向正好相反),而这个光学成像阵列可以适用于任何的成像、感测、或数据聚合等目的,包括但不限于环境光、结构光、指纹、面容等生物特征。
也就是说,配备这项技术的iPhone,将有望实现屏下的指纹识别,以及屏下Face ID面容识别,甚至是屏下的虹膜识别等各种生物识别方式,而这一技术也将使得iPhone有希望完全抹除刘海区域,能实现真正的全面屏效果,带来更加震撼的视觉体验。
鉴于目前iPhone 13系列已经要进入量产阶段,其设计已经最终定型,将无缘搭载此项技术,而明年的iPhone 14应该即将进入研发周期,有望成为首款搭载这项技术的机型。
因此,iPhone 14也将有希望成为历史上首款支持屏下指纹、屏下Face ID的苹果手机,值得期待。


特别提醒:本网信息来自于互联网,目的在于传递更多信息,并不代表本网赞同其观点。其原创性以及文中陈述文字和内容未经本站证实,对本文以及其中全部或者部分内容、文字的真实性、完整性、及时性本站不作任何保证或承诺,并请自行核实相关内容。本站不承担此类作品侵权行为的直接责任及连带责任。如若本网有任何内容侵犯您的权益,请及时联系我们,本站将会在24小时内处理完毕。
站长资讯网