IT之家 6 月 27 日消息 苹果现获得一项“具有柔性显示结构的电子设备”专利 (11044822)。这暗示苹果可折叠 iPhone 或者其他苹果设备,例如 iPad,甚至是 Mac 笔记本电脑等设备将迎来更多形态。
在专利数据中,苹果指出:如笔记本电脑、移动电话和其他设备通常都配有显示屏,而这些屏幕也都包含面向用户的图像像素数组,但显示屏通常由刚性结构构成,如玻璃板。
苹果表示,这使得制造小型电子设备变得更难,而他们认为柔性显示屏可以是这种问题的解决方案。
专利概要如下:一款电子设备至少采用一块柔性显示屏。所述电子设备可具有相互旋转耦合的外壳部分,以便所述柔性显示屏可沿一个或多个轴进行折叠。且这种设备可以配备存储柔性显示屏的滚轮,当需要额外的显示区域时,滚轮可使其从壳体内滑出。

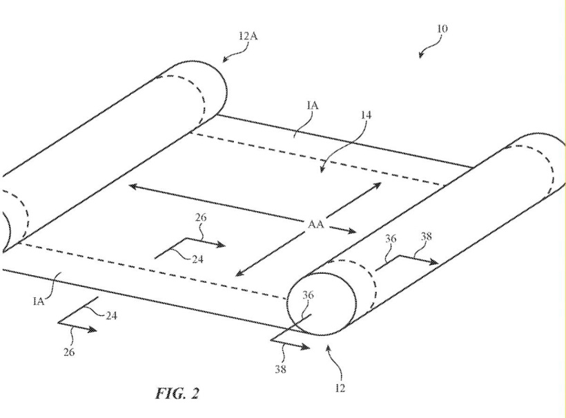
▲附图是具有在外壳结构之间延伸的柔性屏的说明性设备的透视图
“隐藏于壳内的触摸屏可以与支持滚动的柔性屏叠加。无线发射器和接收器可将图像数据传到显示驱动 IC 电路。所述显示驱动电路可在基于所述图像数据的柔性显示器中的像素阵列上显示图像。磁铁可以用于外部偏置的边缘安装双稳态支持结构,以防止滚动的柔性显示器起皱。”
IT之家了解到,苹果已拿到数十项此类专利,此前知名分析师郭明錤预测苹果将于 2023 年推出折叠屏 iPhone,配备三星产的 8 英寸 QHD+ 柔性屏,推动下一个换机热潮,以此看来苹果目前折叠屏机型的研发已接近尾声。
特别提醒:本网信息来自于互联网,目的在于传递更多信息,并不代表本网赞同其观点。其原创性以及文中陈述文字和内容未经本站证实,对本文以及其中全部或者部分内容、文字的真实性、完整性、及时性本站不作任何保证或承诺,并请自行核实相关内容。本站不承担此类作品侵权行为的直接责任及连带责任。如若本网有任何内容侵犯您的权益,请及时联系我们,本站将会在24小时内处理完毕。
站长资讯网