IT之家3月14日消息 美国专利商标局在本周四公布了多项苹果最新专利,其中包括三项与电池技术相关的专利,可以延长电池使用寿命、扩大电池容量、缩小设备尺寸,并检测电池膨胀状况,从而使设备更加便携,同时还可保证用户安全。
值得一提的是,在一项电池正负极的专利中苹果特意提及该专利是苹果联合美国能源部研发的,因此美国政府享有一定专利权。
第一项:苹果认为可以使用针对平均电压和能量密度改善的涂层来增强电池性能。苹果和美国能源部开发出了一种表面涂层和锂离子阴极材料的组合,与传统的氧化铝涂层相比,它们可以显示出改善的平均电压和循环保持率。
苹果表示,使用这种含有镧和钛的锂离子氧化物(LLTO)或含有镧和锗的锂离子氧化物(LLGO)作为基于锂取代钴氧化物的阴极材料的锂离子传导涂层可以提供比常规氧化铝涂层更高的平均电压和更高的能量保持率(电池健康水平)。
苹果认为该专利可以应用于 iPhone、iPad、iPod、Apple Watch、显示器、Apple TV 以及 Mac 和配件等。
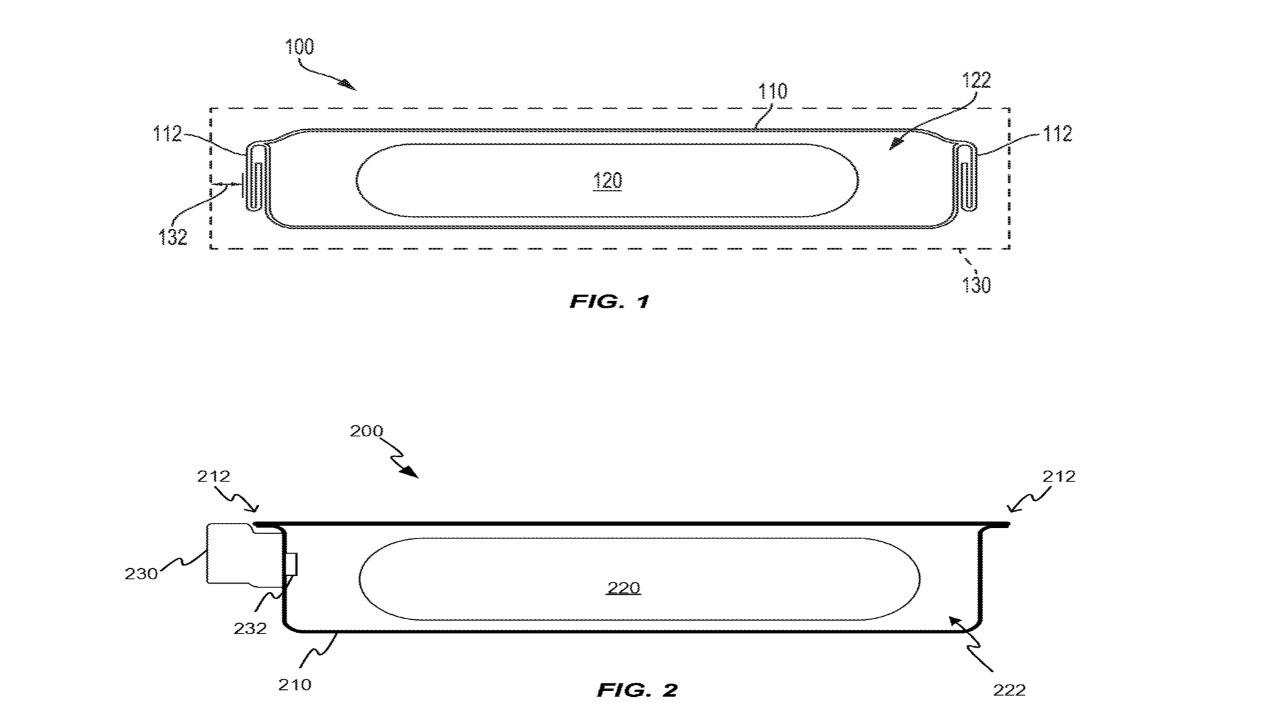
第二项:小型金属电池外壳。该专利描述了一种用于定位在内部组件周围的电池系统,这个新系统将允许在机身中使用更大的电池,而不会损坏组件。

IT之家了解到,由于电池外部的金属或机身中可能存在电荷,因此现在的电池设计必须将电池与其余组件在物理层面隔开,而这则会导致一定程度上的空间浪费,从而限制无法使用更大的电池。
第三项专利描述了多种解决方案来检测和缓解电池鼓包。无论汽车还是智能手机,为确保安全都需要确定电池是否存在鼓包。

据悉,一旦该系统检测到电池鼓包,传感器将发现问题(例如声共振、光干扰、物理接触或压力)并由系统决定如何减缓或防止进一步膨胀,之后可以通过合理调整电池的充电或放电来实现优化。
特别提醒:本网内容转载自其他媒体,目的在于传递更多信息,并不代表本网赞同其观点。其原创性以及文中陈述文字和内容未经本站证实,对本文以及其中全部或者部分内容、文字的真实性、完整性、及时性本站不作任何保证或承诺,并请自行核实相关内容。本站不承担此类作品侵权行为的直接责任及连带责任。如若本网有任何内容侵犯您的权益,请及时联系我们,本站将会在24小时内处理完毕。
站长资讯网