2月26日消息 苹果的 Apple Glass 智能眼镜此前已经公布了多个消息,苹果公司也申请了众多专利。外媒 appleinsider 消息,苹果最新的专利中展现了 Apple Glass 使用麦克风阵列探测声音方位的方法,另一项专利还曝光了苹果眼镜的自动清洁功能。

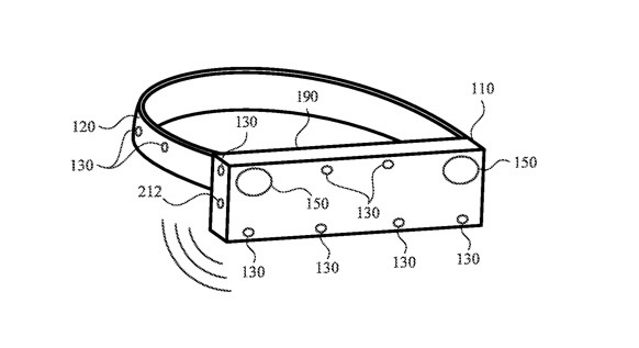
根据专利图片,眼镜正面以及头带上均配备大量麦克风,可以侦听不同方位的声音,从而在头戴显示装置上定位声音来源。专利中没有说明这项功能的具体应用,外媒表示或许可以配合 Apple Tag 蓝牙追踪器来寻找物品。

第二项专利为自动清洁 Apple Glass 镜片的装置。根据描述,该设备通过机械振动来清除头戴显示器 / 眼镜镜片表面的灰尘、碎屑等杂物,避免影响显示效果。苹果表示,在高分辨率显示设备上,异物和灰尘对显示效果的影响十分大。此外,残留在镜片表面的灰尘和异物,会磨损以及腐蚀镜片,时间久了之后会更难以清除,或聚集在设备更深处。
据了解,有产业链消息称苹果 Apple Glass AR 眼镜已经进入研发的第二阶段,将经历 6-9 个月的工程验证期。在这期间,制造商将专注于优化设别重量和电池续航能力。
特别提醒:本网内容转载自其他媒体,目的在于传递更多信息,并不代表本网赞同其观点。其原创性以及文中陈述文字和内容未经本站证实,对本文以及其中全部或者部分内容、文字的真实性、完整性、及时性本站不作任何保证或承诺,并请自行核实相关内容。本站不承担此类作品侵权行为的直接责任及连带责任。如若本网有任何内容侵犯您的权益,请及时联系我们,本站将会在24小时内处理完毕。
站长资讯网