2 月 26 日消息 据外媒 MacRumors 报道,苹果已向美国专利和商标局递交了一份带有一系列传感器和触觉反馈的设备,该设备是为手指设计的,可能用于 VR 或 AR 设备的控制装置。

苹果递交的这份名为《带有传感器和触觉的手指装置》的专利申请文件,详细解释了该设备是如何用于无线控制计算机和 “虚拟现实内容和 / 或头戴式显示器扩增实境内容”的 “手指控制装置系统”。

在文件中,苹果承认,一些可穿戴控制设备的方案可能类似于带有传感器的手套,用于检测手部运动。但苹果表示,手指设备有一些优点,比如保留了在用户周围环境中感受物体的能力,并保持了舒适性。
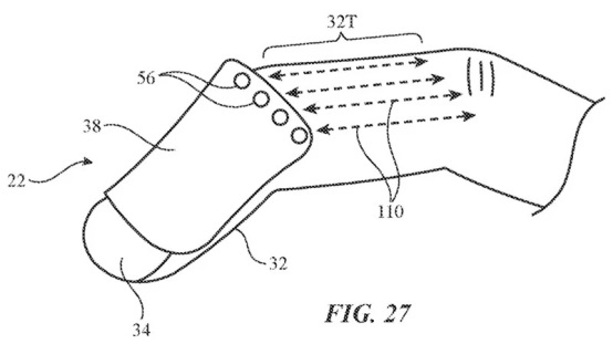
在设计方面,该设备有两个小侧壁,可以用磁铁或弹簧扣住手指,因此可以容纳不同尺寸的手指。它可能是 “由金属等可变形材料制作的”,但该专利也表明,其他材料可能更合适,例如织物或化学聚合物。

该装置的外壳部分集成了力传感器、加速度计、陀螺仪、光学传感器、触摸传感器、状态指示灯等等。这些传感器使用电容式感应技术和其他方法精确地确定用户移动手指的距离和互动时的手势。外媒 MacRumors 认为该系统非常精确,可以检测出使用者的按压力度以及按压力的准确方向。
结合一些传言,苹果的这份专利申请可能就是期待已久的控制输入式头戴产品。The Information 最近的一份报告称,苹果正在开发多种方法来控制其混合现实头戴设备,包括一种 “可以戴在人的手指上的顶针状设备”。
特别提醒:本网内容转载自其他媒体,目的在于传递更多信息,并不代表本网赞同其观点。其原创性以及文中陈述文字和内容未经本站证实,对本文以及其中全部或者部分内容、文字的真实性、完整性、及时性本站不作任何保证或承诺,并请自行核实相关内容。本站不承担此类作品侵权行为的直接责任及连带责任。如若本网有任何内容侵犯您的权益,请及时联系我们,本站将会在24小时内处理完毕。
站长资讯网