评测过很多主机服务器,用过的朋友其实对每家服务器的产品都是有一定的了解,本文笔者从我常用的几家服务器做一个对比介绍,包括bluehost,raksmart,hostease,hostgator几家服务器。
第一、bluehost美国服务器
美国本土老牌主机商,1997年建立,以稳定著称,是极客首选,配置多为超微或戴尔机型,性能不错,是最早一批采用云计算技术管理服务器的主机商之一。
2014年进入中国市场,针对大陆线路有接入电信网络,访问速度比较稳定,丢包率低,有不限流量香港服务器和高流量大带宽美国服务器可选。笔者推荐选购美国机房,千兆独享带宽,100TB流量,接入电信CN2线路,大陆优化,访问速度快,稳定性高,价格409元/月起,使用MDD优惠码是9折优惠,支持paypal,支付宝、银联支付,支持中英文在线咨询。
配置丰富,Linux操作系统下机械硬盘有DS2,DS3,DS4服务器,固态硬盘有DS1-SSD,DS2-SSD,DS3-SSD,官方网站:cn.bluehost.com

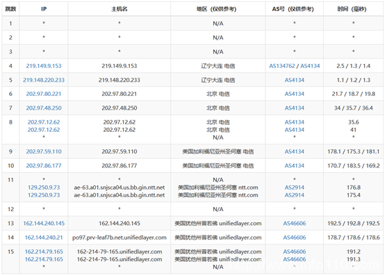
速度快,SSD读写速度方面:


笔者个人推荐SSD服务器的,尤其是电信CN2直接的多IP站群服务器,bluehost DS7方案28GB/2TB存储/129IP/100TB流量,首单700元/月,ping值在180ms左右,路由去程节点也较少:

第二、raksmart 服务器
2000年成立,主要业务是独立服务器,突出高防功能与大流量,所以站群服务器也是其特色之一,数据中心遍布美国,香港,日本韩国新加坡等地,大陆优化+BGP+CN2线路,国内访问速度非常快,支持支付宝、paypal支付,支持中文售后,香港站群服务器产品带宽大,效果明显,可配多段IP。
官方网站:cn.raksmart.com。Raksmart服务器还可以接受定制服务,带宽最高可以达到10Gbps,提供高防。
第三、Hostease 服务器
美国主机商,主营服务器和虚拟主机;产品特点是访问速度快,机房位于SoftLayer,KT,不限流量,高防御;支持支付宝,paypal支付,中英文双客服,在线处理问题快,其站群服务器内容比较优惠。
官方网站:cn.hostease.com
第四、hostgator 服务器
熟悉的都叫它为鳄鱼主机,总部在休斯敦和德克萨斯,奥斯丁,遍布全球的国际办事处,主营虚拟主机、分销主机,vps主机产品,从2002年以来无数次获得奖章,官方折扣码HostGator有75折优惠,支持paypal,支付宝,银联支付;支持中英文在线交流,官方网站:cn.hostator.com
笔者建议在选择服务器的时候,建议从以下几个方面考虑。
1,CPU的性能。
美国服务器的CPU型号类型,作为新手站长一定要先考虑,这个是处理整个服务器运算的核心组件,比如网页的请求,数据处理等。现在美国服务器都会采用双核,或者多核,这对服务器的整体运算都是有极大好处的。因此在选择CPU型号时,多考虑它的性能,尽量选择品牌厂商的CPU。
2,内存。
内存对于美国服务器是决定处理命令的速度。当用户访问网站时,如果出现多条处理信息就要靠内存的大小。就像我们电脑,如果处理很多信息时,就可能出现卡顿,服务器也一样。一般来说,对于美国服务器的内存至少应该是4G以上,一些大型网站应该选择32G或者更高。
3,磁盘空间。
我们知道美国服务器的磁盘空间配置都是比较大的,有的甚至是无限空间。当然,这个对于我们来说,可以考虑的是磁盘的读取速度,通常HDD的处理速度比SSD要慢一些。建议选择1TB以上的空间,或者后期可以再进行扩展
4,服务器带宽。
美国服务器的带宽资源相对来说还是比较丰富的,如果是国内外贸企业选择,那就更需要大带宽,毕竟距离相对于我们还是比较远的,带宽不够,会影响网站的整体访问速度,一般来说,建议选择保证100M以上的带宽。
5,美国服务器的安全性。
网站的安全性很大程度上决定于服务器,如果服务器不稳定那么网站也会无法正常打开,所以,在选择美国服务器时,尽量选择品牌主机商,至少质量方面有保障。
申请创业报道,分享创业好点子。点击此处,共同探讨创业新机遇!
站长资讯网