站长资讯网
最全最丰富的资讯网站

vivo 注册 “步步高”“BBK”等商标,纪念曾经的经典品牌

  12 月 30 日消息 vivo 昨日刚刚推出了最新的 vivo X60 系列两款机型,首发三星 Exynos 1080 芯片,拥有蔡司加持的影像系统,售价 3498 元起。

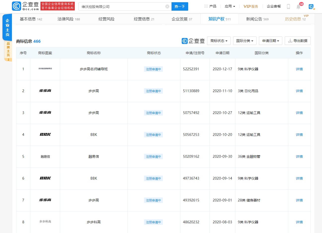
  企查查 App 显示,维沃控股有限公司(vivo 关联公司)于近期申请注册 “步步高”商标,其中国际分类包含 3 类 日化用品、12 类 运输工具、28 类 健身器材、36 类 金融物管等,商标状态为注册申请中。

vivo 注册 “步步高”“BBK”等商标,纪念曾经的经典品牌

  vivo 前几年也曾申请 “步步高”商标,但大部分宣告无效再次复审,小部分申请成功。此外,vivo 最早注册的一个 “步步高升”商标的时间是在 1999 年。

vivo 注册 “步步高”“BBK”等商标,纪念曾经的经典品牌
vivo 注册 “步步高”“BBK”等商标,纪念曾经的经典品牌
vivo 注册 “步步高”“BBK”等商标,纪念曾经的经典品牌

特别提醒:本网内容转载自其他媒体,目的在于传递更多信息,并不代表本网赞同其观点。其原创性以及文中陈述文字和内容未经本站证实,对本文以及其中全部或者部分内容、文字的真实性、完整性、及时性本站不作任何保证或承诺,并请自行核实相关内容。本站不承担此类作品侵权行为的直接责任及连带责任。如若本网有任何内容侵犯您的权益,请及时联系我们,本站将会在24小时内处理完毕。

赞(0)
分享到: 更多 (0)

网站地图   沪ICP备18035694号-2    沪公网安备31011702889846号