Bluehost推出的VPS主机已经有些年头了,不过最新出来的固态硬盘VPS主机测试了一下,效果数据分享给大家。
首先,我们先了解什么情况下会选择VPS主机。
VPS主机相对虚拟主机会有更高的权限,能够自主的安装一些需要的软件,能够有足够的权限进行重启及安装操作,这对于很多热衷DIY自己网站空间的站长来说,还是非常有优势的。其次VPS一般都会配送免费的独立IP,而独立IP对于网站的优化是非常有优势的。
当然,VPS更多的优势是独享的,不会受其他用户的操作影响,能够独立运营,相当于一个完整的小独立服务器。
另外,VPS主机如果配置上SSD硬盘,那么在I/O读取数据上会有极大的提升,对用户的访问也有很好的体验度。
本文笔者针对SSD VPS使用情况做一个全面的评测,旨在帮助对VPS有需求的站长更好的作出合理的选择。
第一、 I/O 读取速度 。
既然是SSD,那么相对传统的机械硬盘,SSD的读取速度肯定会快很多,此次测试是bluehost V1-SSD产品,25元/月,双核/2GB内存/2TB流量/20GB SSD存储/1个独立IP。

第二、 CPU 相关参数。
CPU是关系到VPS能否正常运行的决定性因素,本次测试数据与官网给出数据一致,操作系统正是CentOS 7.5。

第三、服务器配置信息。
整体配置相对来说还是比较高的,笔者虽然选择的是最低款SSD VPS,但还是具有代表性,最低配置的传输数据及配置已经达到预期需求,高配应该只会更好。

第四、速度测试。
国内三网结点测试上传与下载速度。

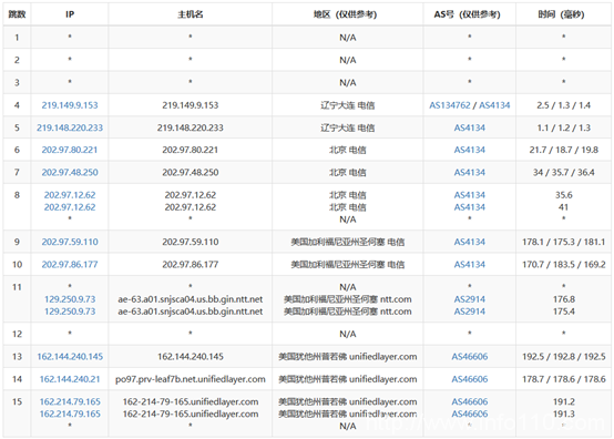
随机回程路由测试

去程路由结点

第五、评测结论。
美国服务器机房一般都是在美国,做外贸的建站,尤其是客户群体偏向欧美,美国服务器是首选。不过现在服务器商基本都接入了CN2线路,正如本文评测的bluehost产品也一样,CN2的线路大陆优化,访问速度提升的很快。推荐一款配置,Intel Xeon D-2141美国服务器,60G内存,2TB固态硬盘,千兆独享带宽,100TB流量,仅需699元/月,使用常用优惠码MDD联系客服即可获取。配置上也是比较高的采用SSD固态硬盘读写能力强、16GB内存起步,2个默认独立IP地址、带宽充裕。
申请创业报道,分享创业好点子。点击此处,共同探讨创业新机遇!
站长资讯网