黑色星期五刚刚过完,紧随其后的是网络星期一,促销活动在整个十一月份目不暇接,每逢年底商家也是想尽各种方式促销,大力积攒品牌人气,促销热潮一波接一波。对于我们站站来说,这个季节无疑是幸福的,我们可以根据自己的年度计划,在这个时间段规划来年的成本计划,除此之外,这个季节可以极大降低站长的硬性成本开销。
本文笔者继黑五之后,继续为大家带来网络星期一活动的整理。据悉,bluehost网络星期一活动将从11月30日到12月2日,不限流量虚拟主机产品将低至14元/月,服务器全场低至4折,高速稳定SSD美国VPS仅需25元/月。这个活动其实相对来说优惠力度还是比较大的。Bluehost是一个老品牌主机商了,进入中国市场后,不管是产品的配置方案还是中文客服都是足够亲民。网络星期一也是继黑五之后持续对用户进行如此大的优惠促销活动。
作为用户,我们肯定是希望这些商家的活动越多越好,而且是更多的商家参与进来,这样我们可以获得更多的信息比较,能够选择更好的产品,满足不同的需求。
笔者目前正在使用的就是Bluehost SSD服务器,稳定性和速度,价格来说同配置下,还是有很高性价比。这里我贴一下我使用服务器的一些评测参数可以供大家参考参考。
1.综合节点PING速度测试
这里我们参考在线IPIP PING工具测试全球节点PING速度。

我们可以看到国内速度能平均到200MS内算是很快的。同时,对于海外节点测试速度那肯定不用说,适合我们选择美国服务器的需求速度。如果觉得美国服务器不适合中文项目,可以选择香港虚拟主机、香港云服务器或者香港服务器。
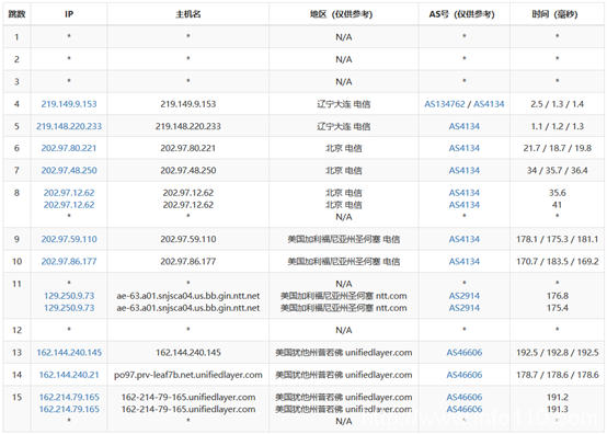
2.去程路由节点

这里测试电信节点的去程路由。
3.配置信息

4.IO硬盘读写能力


固态硬盘的读写能力是强不少。
5.随机回程路由测试

6.国内三网节点下载和上传测速

评测结论
美国服务器机房一般都是在美国,做外贸的建站,尤其是客户群体偏向欧美,美国服务器是首选。接入CN2线路的服务器访问速度会更快,正如本文评测的bluehost产品也一样,CN2的线路大陆优化,访问速度提升的很快。推荐一款配置,Intel Xeon D-2141美国服务器,60G内存,2TB固态硬盘,千兆独享带宽,100TB流量,仅需699元/月,使用常用优惠码MDD联系客服即可获取。配置上也是比较高的采用SSD固态硬盘读写能力强、16GB内存起步,2个默认独立IP地址、带宽充裕。
申请创业报道,分享创业好点子。点击此处,共同探讨创业新机遇!
站长资讯网