11月9日消息 目前三星、华为等厂商已推出自家的折叠屏手机,其中三星拥有两种形态的折叠屏机型。
三星 Galaxy Z Flip 是三星电子于 2020 年 2 月 11 日与 Galaxy S20 一同发布,并于 2020 年 2 月 14 日发售的一款可折叠式智能手机。由于采用上下对折式折叠设计且深受女性用户喜爱,部分网友戏其称为 “化妆镜”。
之后摩托罗拉在 Razr(刀锋)的基础上也推出了 Razr 5G 手机,进一步完善了对折式折叠机型的阵营。
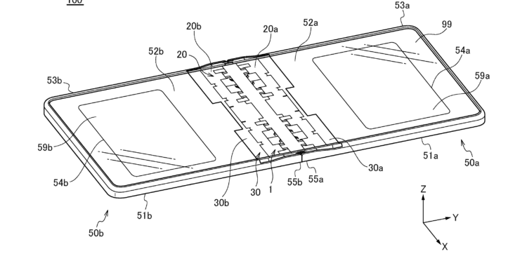
外媒 WindowsUnited 发现了一款华为的对折式折叠机型铰链结构的 WIPO 专利,喻示华为方面也曾考虑过 Z Flip 相似的设计,该专利已于 10 月 22 日公开。

该专利描述了一种铰链结构,这个铰链具有两部分铰链单元组成,所描述的智能手机屏幕也分为两个部分,两段铰链可进行旋转和滑动,并可以通过简单地连接以进行支撑。

该专利仅为一种铰链设计,并非手机设计,因此仅可当作华为专利储备来考虑,但也不排除华为终有一日将其付诸实践量产成型并发售的可能。
特别提醒:本网内容转载自其他媒体,目的在于传递更多信息,并不代表本网赞同其观点。其原创性以及文中陈述文字和内容未经本站证实,对本文以及其中全部或者部分内容、文字的真实性、完整性、及时性本站不作任何保证或承诺,并请自行核实相关内容。本站不承担此类作品侵权行为的直接责任及连带责任。如若本网有任何内容侵犯您的权益,请及时联系我们,本站将会在24小时内处理完毕。
站长资讯网